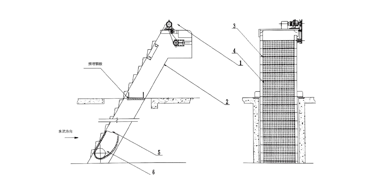
Mesh Bar Screen Machine
The mesh-type step bar screen is a specialized water treatment device capable of continuously and automatically intercepting and removing various shapes of debris from fluids. It finds extensive application in municipal sewage treatment and the water supply industry, while also serving as primary screening equipment in wastewater treatment processes for sectors such as textiles and food processing.
This equipment is one of the screen dewatering machines independently developed by our company based on advanced imported products and has been put into operation at multiple sewage treatment plants.
English
русский 










