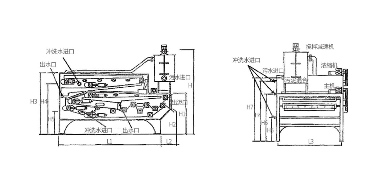
Belt Filter Press
The belt filter press is a continuous, high-efficiency sludge treatment device that integrates concentration and filtration functions. It is suitable for dewatering and separating various settled or suspended materials, and is widely applied in sludge dewatering across industries such as chemical engineering, metallurgy, mining, food processing, papermaking, municipal wastewater treatment, and drainage.
English
русский 













