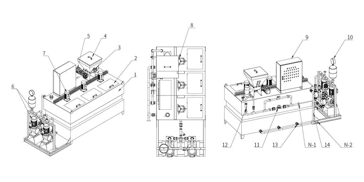
Fully Automatic Dosing Device
The OJY fully automatic chemical dosing system is widely used as auxiliary equipment in municipal water treatment and sewage sludge processing. It continuously and efficiently performs polymer dissolution and mixing to produce a homogeneous active polymer solution.
English
русский 














